带散热器弹簧全启式安全阀

当前位置:首页 > 产品展示 > 安全阀系列
产品展示

PRODUCTS

带散热器弹簧全启式安全阀
  • 带散热器弹簧全启式安全阀

 带散热器弹簧全启式安全阀

系列 SERIES
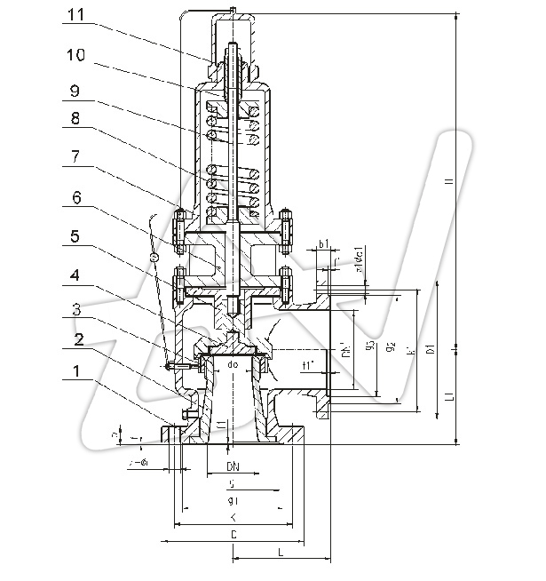
LA40Y-16C/25/40 LA40Y-64/100 LA40Y-16/25/40P LA40Y-64P/100P LA40Y-16/25/40I LA40Y-64/100I

LA40-C适用于工作温度≤400℃、LA40Y-I≤450℃的空气、水、氩氢混合气等介质的设备或管路上,LA40Y-P适用于工作温度≤300℃有腐蚀性介质的设备或管路上,作为超压保护装置。

  • 产品说明
 
主要零部件材料 
上一条:单杠杆安全阀
下一条:先导式安全阀
立特网

手机扫一扫,与我们保持联系

分享到:
立特阀门科技有限公司专业生产销售安全阀
Copyright © 立特阀门科技有限公司 All Rights Reserved  
->
(8:30-18:30)
在线QQ
点击这里给我发消息
点击这里给我发消息
销售热线
0577-66999885
传真
0577-66999889
扫一扫二维码
关注我们